Door & Components for 2004 Ford Focus
Vehicle
2004 Ford Focus
Change Vehicle
Categories
- Bumper & Components - Front
- Bumper & Components - Rear
- Center Console
- Center Pillar
- Cluster & Switches
- Cowl
- Door
- Door & Components
- Doors
- Ducts
- Exterior Trim - Fender
- Exterior Trim - Front Door
- Exterior Trim - Rear Door
- Exterior Trim - Trunk
- Fender & Components
- Floor & Rails
- Front Door
- Front Seat Components
- Glass - Front Door
- Glass - Rear Door
- Glass - Windshield
- Glass & Hardware
- Glass & Hardware - Back
- Glove Box
- Grille & Components
- Hinge Pillar
- Hood & Components
- Inner Structure
- Instrument Panel
- Interior Trim - Front Door
- Interior Trim - Pillars
- Interior Trim - Quarter Panels
- Interior Trim - Rear Body
- Interior Trim - Rear Door
- Interior Trim - Roof
- Lid & Components
- Liftgate
- Lock & Hardware
- Master Cylinder - Components On Dash Panel
- Outside Mirrors
- Overhead Console
- Quarter Panel & Components
- Radiator Support
- Rear Body
- Rear Door
- Rear Floor & Rails
- Rear Seat Components
- Rear Upper Body
- Reveal Moldings
- Rocker
- Roof & Components
- Seat Belt
- Sound System
- Spoiler
- Steering Wheel
- Structural Components & Rails
- Sunroof
- Tracks & Components
- Trunk
- Trunk Lid & Compartment
- Uniside
- Wiper & Washer Components
- ABS Components
- Air Bag Components
- Alternator
- Alternator/Generator & Related Components
- Antenna & Radio
- Anti-Theft Components
- Battery
- Battery & Related Components
- Bulbs - Chassis
- Cruise Control System
- Daytime Running Lamp Components
- Door
- Fog Lamps
- Front Door
- Front Seat Belts
- Fuse & Relay
- Headlamp Components
- High Mounted Stop Lamp
- Horn
- Ignition Lock
- Ignition System
- Instruments & Gauges
- Keyless Entry Components
- License Lamps
- Mirrors
- Powertrain Control
- Rear Door
- Rear Seat Belts
- Senders
- Sensors
- Side Marker Lamps
- Starter
- Sunroof
- Switches
- Switches, Solenoids & Actuators
- Tail Lamps
- Wipers
- Bumper & Components - Front
- Bumper & Components - Rear
- Center Console
- Center Pillar
- Cluster & Switches
- Cowl
- Door
- Door & Components
- Doors
- Ducts
- Exterior Trim - Fender
- Exterior Trim - Front Door
- Exterior Trim - Rear Door
- Exterior Trim - Trunk
- Fender & Components
- Floor & Rails
- Front Door
- Front Seat Components
- Glass - Front Door
- Glass - Rear Door
- Glass - Windshield
- Glass & Hardware
- Glass & Hardware - Back
- Glove Box
- Grille & Components
- Hinge Pillar
- Hood & Components
- Inner Structure
- Instrument Panel
- Interior Trim - Front Door
- Interior Trim - Pillars
- Interior Trim - Quarter Panels
- Interior Trim - Rear Body
- Interior Trim - Rear Door
- Interior Trim - Roof
- Lid & Components
- Liftgate
- Lock & Hardware
- Master Cylinder - Components On Dash Panel
- Outside Mirrors
- Overhead Console
- Quarter Panel & Components
- Radiator Support
- Rear Body
- Rear Door
- Rear Floor & Rails
- Rear Seat Components
- Rear Upper Body
- Reveal Moldings
- Rocker
- Roof & Components
- Seat Belt
- Sound System
- Spoiler
- Steering Wheel
- Structural Components & Rails
- Sunroof
- Tracks & Components
- Trunk
- Trunk Lid & Compartment
- Uniside
- Wiper & Washer Components
- ABS Components
- Air Bag Components
- Alternator
- Alternator/Generator & Related Components
- Antenna & Radio
- Anti-Theft Components
- Battery
- Battery & Related Components
- Bulbs - Chassis
- Cruise Control System
- Daytime Running Lamp Components
- Door
- Fog Lamps
- Front Door
- Front Seat Belts
- Fuse & Relay
- Headlamp Components
- High Mounted Stop Lamp
- Horn
- Ignition Lock
- Ignition System
- Instruments & Gauges
- Keyless Entry Components
- License Lamps
- Mirrors
- Powertrain Control
- Rear Door
- Rear Seat Belts
- Senders
- Sensors
- Side Marker Lamps
- Starter
- Sunroof
- Switches
- Switches, Solenoids & Actuators
- Tail Lamps
- Wipers
Browse Categories
Select category
- Bumper & Components - Front
- Bumper & Components - Rear
- Center Console
- Center Pillar
- Cluster & Switches
- Cowl
- Door
- Door & Components
- Doors
- Ducts
- Exterior Trim - Fender
- Exterior Trim - Front Door
- Exterior Trim - Rear Door
- Exterior Trim - Trunk
- Fender & Components
- Floor & Rails
- Front Door
- Front Seat Components
- Glass - Front Door
- Glass - Rear Door
- Glass - Windshield
- Glass & Hardware
- Glass & Hardware - Back
- Glove Box
- Grille & Components
- Hinge Pillar
- Hood & Components
- Inner Structure
- Instrument Panel
- Interior Trim - Front Door
- Interior Trim - Pillars
- Interior Trim - Quarter Panels
- Interior Trim - Rear Body
- Interior Trim - Rear Door
- Interior Trim - Roof
- Lid & Components
- Liftgate
- Lock & Hardware
- Master Cylinder - Components On Dash Panel
- Outside Mirrors
- Overhead Console
- Quarter Panel & Components
- Radiator Support
- Rear Body
- Rear Door
- Rear Floor & Rails
- Rear Seat Components
- Rear Upper Body
- Reveal Moldings
- Rocker
- Roof & Components
- Seat Belt
- Sound System
- Spoiler
- Steering Wheel
- Structural Components & Rails
- Sunroof
- Tracks & Components
- Trunk
- Trunk Lid & Compartment
- Uniside
- Wiper & Washer Components
- ABS Components
- Air Bag Components
- Alternator
- Alternator/Generator & Related Components
- Antenna & Radio
- Anti-Theft Components
- Battery
- Battery & Related Components
- Bulbs - Chassis
- Cruise Control System
- Daytime Running Lamp Components
- Door
- Fog Lamps
- Front Door
- Front Seat Belts
- Fuse & Relay
- Headlamp Components
- High Mounted Stop Lamp
- Horn
- Ignition Lock
- Ignition System
- Instruments & Gauges
- Keyless Entry Components
- License Lamps
- Mirrors
- Powertrain Control
- Rear Door
- Rear Seat Belts
- Senders
- Sensors
- Side Marker Lamps
- Starter
- Sunroof
- Switches
- Switches, Solenoids & Actuators
- Tail Lamps
- Wipers
- Bumper & Components - Front
- Bumper & Components - Rear
- Center Console
- Center Pillar
- Cluster & Switches
- Cowl
- Door
- Door & Components
- Doors
- Ducts
- Exterior Trim - Fender
- Exterior Trim - Front Door
- Exterior Trim - Rear Door
- Exterior Trim - Trunk
- Fender & Components
- Floor & Rails
- Front Door
- Front Seat Components
- Glass - Front Door
- Glass - Rear Door
- Glass - Windshield
- Glass & Hardware
- Glass & Hardware - Back
- Glove Box
- Grille & Components
- Hinge Pillar
- Hood & Components
- Inner Structure
- Instrument Panel
- Interior Trim - Front Door
- Interior Trim - Pillars
- Interior Trim - Quarter Panels
- Interior Trim - Rear Body
- Interior Trim - Rear Door
- Interior Trim - Roof
- Lid & Components
- Liftgate
- Lock & Hardware
- Master Cylinder - Components On Dash Panel
- Outside Mirrors
- Overhead Console
- Quarter Panel & Components
- Radiator Support
- Rear Body
- Rear Door
- Rear Floor & Rails
- Rear Seat Components
- Rear Upper Body
- Reveal Moldings
- Rocker
- Roof & Components
- Seat Belt
- Sound System
- Spoiler
- Steering Wheel
- Structural Components & Rails
- Sunroof
- Tracks & Components
- Trunk
- Trunk Lid & Compartment
- Uniside
- Wiper & Washer Components
- ABS Components
- Air Bag Components
- Alternator
- Alternator/Generator & Related Components
- Antenna & Radio
- Anti-Theft Components
- Battery
- Battery & Related Components
- Bulbs - Chassis
- Cruise Control System
- Daytime Running Lamp Components
- Door
- Fog Lamps
- Front Door
- Front Seat Belts
- Fuse & Relay
- Headlamp Components
- High Mounted Stop Lamp
- Horn
- Ignition Lock
- Ignition System
- Instruments & Gauges
- Keyless Entry Components
- License Lamps
- Mirrors
- Powertrain Control
- Rear Door
- Rear Seat Belts
- Senders
- Sensors
- Side Marker Lamps
- Starter
- Sunroof
- Switches
- Switches, Solenoids & Actuators
- Tail Lamps
- Wipers
No.
Part # / Description / Price
Price
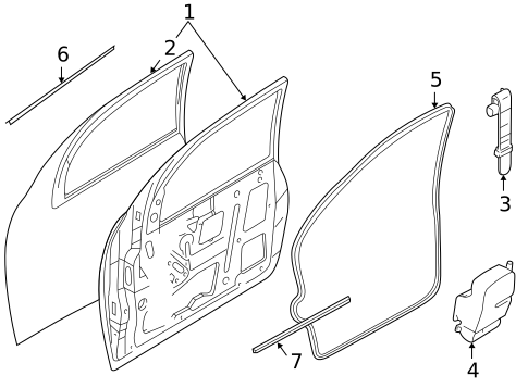
1
1
2
Outer Panel
Ford
Ford Positions: Left
Notes: PARTS: Part included with door shell.
Description: Sedan & wagon. 5 door hatchback.
2
Outer Panel
Ford
Ford Positions: Right
Notes: PARTS: Part included with door shell.
Description: Sedan & wagon. 5 door hatchback.
3
4
4
5
6
6
7
7
No.
Part # / Description / Price
Price
1
1
2
Outer Panel
Ford
Ford Positions: Left
Notes: PARTS: Part included with door shell.
Description: Sedan. Hatchback.
2
Outer Panel
Ford
Ford Positions: Right
Notes: PARTS: Part included with door shell.
Description: Sedan. Hatchback.
3

